Click to order
Ваш заказ
Total: 
Ф.И.О.
Ваш Email
Ваш телефон
Комментарии к заказу
С Вами свяжется наш менеджер.
Резьбонарезной станок ВМС-2А
524 000
руб.
руб.
Служит для нарезания наружной резьбы от 1/2" до 2" на газопроводных и водопроводных трубах по ГОСТ 3262-75 и на прутках сплошного сечения (круглого проката) из черных и цветных металлов, а также для снятия заусенцев и образования фасок внутри труб зенкером.

Оснащение резьбонарезной головки соответствующими гребенками позволяет осуществлять на станке нарезку метрической резьбы диаметром от 12 до 76 мм с шагом от 1,25 до 3 мм.
ОСОБЕННОСТИ
Рекомендации
рекомендуется применять совместно с отрезным станком 5Н428 при проведении сантехнических работ.
Применение
в сантехнических службах и на ремонтных участках предприятий различных сфер деятельности.
Дополнительные опции
  • удлиненная станина до 1000 мм
  • система охлаждения для защиты от перегрева при нарезании длинной резьбы
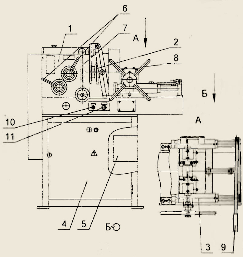
КОНСТРУКЦИОННАЯ СХЕМА
1. Коробка скоростей
2. Резьбонарезная головка
3. Каретка
4. Станина
5. Электрооборудование
6. Рукоятка переключения скоростей
7. Рычаг открытия (закрытия) резьбонарезной головки
8. Рукоятка зажима трубы
9. Рычаг перемещения каретки
10. Кнопка "Пуск"
11. Кнопка "Стоп"
Наведите курсор на текст
ОСНОВНЫЕ УЗЛЫ
ОРГАНЫ УПРАВЛЕНИЯ
ТЕХНИЧЕСКИЕ ХАРАКТЕРИСТИКИ
Нарезаемая резьбa
81 мм
Трубная цилиндрическая по ГОСТ 6357
Диаметр нарезаемой резьбы (макс./мин.)
2" / ½"
Наибольший шаг нарезаемой резьбы
150 мм
Максимальная длина нарезки
120 мм
(без зенковки)
Максимальная длина нарезки
50 мм
(с зенковкой)
Синхронная частота вращения ротора
1500 об/мин
Число оборотов шпинделя
214, 132, 104, 64 об/мин
Мощность эл. двигателя привода
3 кВт
Напряжение
380 В
Габариты Д / Ш / В
1100 / 680 / 1350
Масса, не более
480 кг
Student Account
Предоставляется для создания учебных проектов. Не предназначен для коммерческого использования
This site was made on Tilda — a website builder that helps to create a website without any code
Create a website
Student